问鼎app官网下载安装 专利大观-健身器材
专利大观健身器材

中国健身器材行业的发展始于20世纪80年代末。随着中国加入世贸组织和北京申奥成功,为健身器材行业的发展提供了有利条件和发展机遇。健身队伍的不断扩大,给健身器材厂商带来了效益。带来丰富的商机。
健身器材常根据训练功能的多少分为单一功能和综合多功能两大类。单功能器械,常用的有划船机、健身车、步行机、跑步机、腰部美容机等。综合多功能器械:一般包括扩胸器、引体向上、仰卧推举、仰卧起坐等功能。其他设备。
1. CN114470628B
一款防止掉落的家用健身杠铃
一种防止手脱落的家用健身杠铃,属于家用杠铃技术领域。一种防止手脱落的家用健身杠铃,包括:杠铃杆;防坠落盒。防坠盒滑动安装在杠铃杆上。防坠盒的后外表面固定连接有后连接盒,防坠盒两侧的内壁均设有方孔,两者的上下内壁均设有方孔。方孔与双向螺杆可转动连接;防坠传动机构有两组问鼎娱乐官网下载,两组防坠传动机构分别安装在后接线盒上。上下两侧各有一个家用健身杠铃,防止双手脱落。操作者将手伸入防坠箱内部握住杠铃。两组防坠传动机构同时工作,带动两根双向螺杆转动,使两配合套相互靠近。 ,贴合操作者的手腕,操作者的手无法离开防坠盒内部,杠铃杆不会与操作者的手分离,防止杠铃掉落伤及操作者的脚或其他人。


2. CN111939516B
一种以自重为负载的变张力家用健身器材
本发明公开了一种以自重为负载的变拉力家用健身器材,包括支架、水平轴、传动链轮组、座椅卷轮、手柄卷轮、手柄、座椅、前部。旋转轴;使用者坐在座椅上,拉动手柄,使前转轴转动,带动传动链轮组转动,从而带动水平轴转动。通过水平轴和前转轴的同步旋转,将座椅卷绕轮下方的绳索卷起,将人拉上来。慢慢放松手柄,在重力作用下回到初始位置,重复以上动作进行训练,以人体重量为负载,无需额外金属负载,体积小,安装方便,占地面积小,适合家庭使用;通过手动调节前转轴调节装置可以调节传动链轮组的传动比,从而改变拉力的大小。可由一人用一只手操作。调节装置可以以使用者体重的0%进行调节。 .在3次和2次之间转换,适合人群广,锻炼范围广。


3. CN113786591B
自主培育的家用自行车
一种家用自训练自行车,尤其涉及一种针对小儿肥胖、减脂的自训练家用自行车。本发明提供了一种可调节高度、自主调节运动难度、提高运动积极性的儿童肥胖减脂自训练家用自行车。一种儿童肥胖减脂自训练家用自行车,包括安装架、第一轴承座、曲柄和踏板。安装架上设有第一轴承座,第一轴承座的上部中间可转动地设有曲柄。曲柄两端设有踏板,还包括第一支撑机构、第二支撑机构和升降机构。第一支撑机构设置在安装架上,第二支撑机构设置在安装架的中上部。安装架设有升降机构。本发明通过设置第一支撑机构和第二支撑机构,可以根据儿童的身高调节舒适高度,提高健身舒适度,从而提高减脂效果。


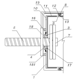
4. CN110755814A
一种智能仰卧起坐辅助健身器材
本发明公开了一种智能仰卧起坐辅助健身器材,包括弧形支撑架。弧形支撑架上设有支撑机构。支撑机构设有固定柱、弹性垫和坐架。 、弹簧垫、固定板、固定轴承1、连接轴、支撑板、保护壳、连接带、圆孔、弹簧钩、透气软垫,弧形支撑架设有辅助省力机构,辅助省力机构 机构有延长板、固定架、固定杆、滑轮、定滑轮、调速电机、联轴器、固定工作台、固定轴承2、主动轴、主动轮、韧线、弧形支撑架设有辅助添加弧形支撑架设有智能控制机构,智能控制机构设有控制器、电容显示屏、家电插头、扬声器、PLC系统、信号接收器、语音识别器、压力传感器。本发明的有益效果是:结构简单,实用性强。

5. CN109224392B
一个健身器材
一种健身器材,更具体地说是一种多功能家用壁挂式臂力健身器材。不仅可以通过支架固定在棚顶上,减少对地面的使用,拉伸臂可以实现引体向上的动作,还可以将拉伸臂拉出进行负重拉伸,升降电机可收回拉伸臂。支架上部通过膨胀螺丝固定在车顶上,支架下部与拉伸臂接触;吊车固定在支架右下侧,吊车上部通过钢丝与拉伸臂连接;升降电机固定在支架上。左侧问鼎娱乐下载链接入口,升降电机通过钢丝与拉伸臂连接;拉伸臂位于支架下部。


6. CN106334285B
压力可调的家用健身踏步机
压力可调节的家用健身踏步机包括底座。底座由第一支撑脚、连杆及第二支撑脚组成。连接杆的两端分别安装有第一支撑脚和第二支撑脚。支撑腿有两个,第一支撑腿中部垂直安装有支撑柱。支撑杆穿过支撑柱内腔的底部,支撑柱外壁水平安装有两个旋转轴。液压伸缩杆与调节球阀配合使用,可以调节进入液压伸缩杆内腔的第二油缸内腔的油量。利用气动伸缩杆、活塞推杆和电磁线圈的相互配合,可以有效改变气动伸缩杆的工作阻力,方便调节。通过在踏板底部安装踏板调节装置,可以调节踏板的坡度,以适应不同难度的训练。


7. CN111467740B
一款舒适的家用健身器材,具有除尘功能
一种具有除尘功能的舒适家用健身器材,包括底板、支架和跑带。底板水平设置,底板上方设置支架,支架上设置跑步带,并有驱动装置,底板顶部设置有除尘机构和至少两个连接件。机构,连接机构均匀分布在支架与底板之间,连接机构包括限位块、固定杆、滑块和弹簧。除尘机构包括集尘槽、清洁刷、连接管、滤网和风力组件。集尘槽位于底板与跑带之间,具有除尘功能。舒适型家用健身器材通过连接机构实现缓冲、减振功能,提高舒适度。不仅如此,它还通过除尘机构实现了跑步机上除尘的功能。


8. CN114452604B
具有除尘功能的综合家用健身器材
一种具有除尘功能的综合家用健身器材,包括第一壳体、安装在第一壳体一侧的第二壳体、以及从第一壳体和第二壳体中间开始的安装孔,安装孔中的轴承为置于内部,通过第一壳体的轴承安装有第一手柄,通过第二壳体的轴承安装有第二手柄。还包括: 对接杆,所述对接杆固定于所述第二壳体的顶部边缘,所述第一壳体和第二壳体内均设有活动凹槽,所述对接杆一端内侧连接有定位杆活动槽通过第一弹簧,活动槽的中间位置通过第二弹簧连接固定杆;安装套,安装套螺纹连接于第一手柄和第二手柄的外侧。该具有除尘功能的家用综合健身器材拆装方便,实现两种健身工具之间的切换,同时可以实现除尘功能。


9. CN111514525B
一种家用健身训练器
一种家用健身训练设备,属于运动器材领域,包括底座、机体和机头。底座底部设有后支撑杆问鼎娱乐下载入口,底座前端连接有横梁,底座顶部设有座椅,座椅上连接有倾斜靠背。横梁,横梁的底端设有前支架。支撑杆和机头通过支撑架与机体连接。机体装有相连的曲轴和飞轮。曲轴两端连接踏板;机体底部通过弹性滑动机构与横梁连接,使机体可以沿横梁移动。沿长度方向滑动;本体前端与横梁之间还连接有限位器。这种训练器材不仅可以作为自行车使用,而且其本体是可移动的结构。使用时,可以根据需要推拉机身,进行手臂锻炼,可以给用户带来更加多样化的体验。


10. CN108992842B
一种家用多功能辅助健身器材
本发明公开了一种家用多功能辅助健身器材,包括吸盘部分、支撑柱、单杠部分和伸缩结构。吸盘部分安装在支撑柱下方。支撑柱上设有两根支撑横杆。横杆部分包括横杆、旋转连接件、固定块、手握杆、弯头支撑板、固定槽和固定弹簧,横杆上安装有伸缩结构。本发明结构简单、使用灵活、重量轻、易于存放、功能齐全。辅助健身功能。


鲁ICP备18019460号-4
我要评论